新服办App
v3.2.4
软件介绍
新服办App是基于新疆政务服务一体化平台全区掌上办事官方唯一入口软件,囊括"掌上办事"、"掌上咨询"、"健康码服务"以及查询社保、查询公积金、查询医保等便民服务功能。个人或企业用户都能在此找到已实现在线办理的所有政务服务事项,体验个性化掌上办事服务的便利!新服办软件内还提供了社区周边美食、酒店、电影、购物等海量商户信息,有需要的用户欢迎下载体验!
软件特色
1、政务服务
老年证、再生育证、就业失业登记证、计划生育健康证、五保证等在线办理,可在线查询办事指南,一次就办成,何必跑多趟!
2、公积金查询
随时随地查询你的公积金,买房、装房心中有数!
3、网上预约挂号
看病急,排队难,'小事儿'预约挂号在线办理帮您和家人解决挂号难题。
4、公共资源缴费
水费、天然气费、有限电视费、小区宽带在家轻松线上缴费。
新服办App功能介绍
1、首页
在首页,用户可以快速点击常见热门办事功能模块,包括社保、医保、公积金等。
2、办事
更加详细划分的事务种类,还有各种不同分类。
3、12345
便民服务热线,倾听收集每一位民众的反馈。
4、我的
在这里用户可以查看自己办过那些事、投诉的进度、预约详情等。
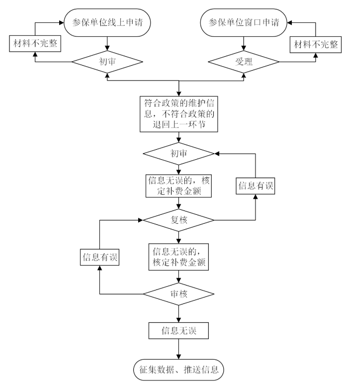
新服办App社会保险费断缴补缴申报流程
职工社会保险费断缴补缴申报流程图:
软件亮点
1、一站式政务服务,减少线下排队时间。
2、便民生活服务,提升本地生活便利性。
3、政务资讯与互动,增强公众参与感。
4、保障用户信息安全,确保业务办理真实有效。
其它版本
热门软件





























































